<address id="nl7nh"><listing id="nl7nh"></listing></address>

      <address id="nl7nh"></address>
        您好,歡迎光臨江蘇碩創機械設備有限公司!
        當前位置: 首頁 > 產品中心 > 多級泵 > CHL型不銹鋼圓筒式輕型多級泵

        CHL型不銹鋼圓筒式輕型多級泵

        概述:CHL,CHLK和CHLF(T)不銹鋼圓筒式輕型多級泵采用了免修機械密封。泵的過流部件均采用不銹鋼材料(304或316)制成,具有低噪音,耐輕腐蝕,外形美觀、體積小、重量輕、使用壽命長等特點。 。

        全國24小時銷售熱線:15852626160 立即咨詢 聯系我們 在線留言
        詳情

        ■ CHL型不銹鋼圓筒式輕型多級泵產品概述:


        CHL,CHLK和CHLF(T)不銹鋼圓筒式輕型多級泵采用了免修機械密封。泵的過流部件均采用不銹鋼材料(304或316)制成,具有低噪音,耐輕腐蝕,外形美觀、體積小、重量輕、使用壽命長等特點。 

        ■ CHL型不銹鋼圓筒式輕型多級泵型號意義: 

         

        ■ CHL型不銹鋼圓筒式輕型多級泵工作條件: 

        稀薄、干凈、不凝、不爆炸、不含固體顆粒或纖維的液體。
        液體溫度: 常溫型-15℃至+70℃
        熱水型+70℃至+110℃
        最大環境溫度:+40℃
        最大運作壓力:10巴
        最大進口壓力受最大運作壓力限制
        介質酸堿性:PH4~9 

        ■ CHL型不銹鋼圓筒式輕型多級泵電機: 

        電機為全封閉,風冷式二極電機
        防護等級:IP55
        絕緣等級:F
        標準電壓,
        50Hz: 
        1×220-240V
        3×220-240V
        380-415V 

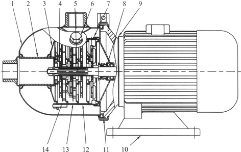
        ■ CHL型不銹鋼圓筒式輕型多級泵結構圖: 

         

        序號

        名稱

        材料

        AISI/ASTM

        序號

        名稱

        材料

        AISI/ASTM

        1

        進出水段

        不銹鋼

        AISI304

        2

        連接管

        不銹鋼

        AISI304

        3

        壓板

        不銹鋼

        AISI304

        4

        葉輪

        不銹鋼

        AISI304

        5

        不銹鋼

        AISI304

        6

        堵頭

        不銹鋼

        AISI304

        7

        出水導葉

        不銹鋼

        AISI304

        8

        機械密封

         

         

        9

        電機端蓋

        鋁合金

         

        10

        底座

        鑄鐵

        ASTM25B

        11

        快速接頭

        不銹鋼

        AISI304

        12

        導葉

        不銹鋼

        AISI304

        13

        支撐導葉

        不銹鋼

        AISI304

        14

        導流器

        不銹鋼

        AISI304

        ■ CHL型不銹鋼圓筒式輕型多級泵輸送的液體: 

        稀薄、清潔、不含固體顆粒或纖維的非易燃易爆液體。
        泵可以輸送諸如礦泉水、軟化水、純水、清油和其他輕化工介質。
        當輸送液體的密度或粘度大于水,如需要,必須配用大功率電機。
        泵是否適用于某一特定液體由多種因素決定,其中最重要的是氯含量、PH值、溫度和溶劑、油的含量等。 

        ■ CHL型不銹鋼圓筒式輕型多級泵產品應用: 

        CHL型不銹鋼圓筒式輕型多級泵主要用于家庭型中央空調循環及工業上液體的傳輸。如脫礦物質水、軟水、凈化系統、輕油等的循環和增壓。
         ● 空調系統            ● 施肥、計量系統
         ● 冷卻系統            ● 環境應用
         ● 工業清洗            ● 供水或增壓系統
         ● 水處理(水的凈化)  ● 生活用水
         ● 水產養殖            ● (其他)許多專門特定用途

        ■ CHL型不銹鋼圓筒式輕型多級泵性能參數: 

        型號

        揚程(m)

        流量(m3/h)

        電機功率(KW)

        轉速(r/min)

        CHL2-20

        14

        2

        0.37

        2900

        CHL2-30

        21

        2

        0.55

        2900

        CHL2-40

        28

        2

        0.55

        2900

        CHL2-50

        35

        2

        0.55

        2900

        CHL2-60

        42

        2

        0.75

        2900

        CHL4-20

        15

        4

        0.55

        2900

        CHL4-30

        22

        4

        0.75

        2900

        CHL4-40

        30

        4

        0.75

        2900

        CHL8-10

        8.5

        8

        0.75

        2900

        CHL8-20

        17

        8

        0.75

        2900

        CHL8-30

        25.5

        8

        1.1

        2900

        CHL8-40

        34

        8

        1.5

        2900

        CHL8-50

        42.5

        8

        2.2

        2900

        CHL12-10

        9.5

        12

        0.75

        2900

        CHL12-20

        19.5

        12

        1.2

        2900

        CHL12-30

        29.5

        12

        1.8

        2900

        CHL12-40

        39.5

        12

        2.4

        2900

        CHL12-50

        50

        12

        3

        2900

        CHL16-10

        10

        16

        1.1

        2900

        CHL16-20

        21

        16

        2.2

        2900

        CHL16-30

        32

        16

        3

        2900

        CHL20-10

        9.5

        20

        1.1

        2900

        CHL20-20

        21

        20

        2.2

        2900

        CHL20-30

        33

        20

        4

        2900

        CHLF(T)2-20

        14

        2

        0.37

        2900

        CHLF(T)2-30

        21

        2

        0.55

        2900

        CHLF(T)2-40

        28

        2

        0.55

        2900

        CHLF(T)2-50

        35

        2

        0.55

        2900

        CHLF(T)2-60

        42

        2

        0.75

        2900

        CHLF(T)4-20

        15

        4

        0.55

        2900

        CHLF(T)4-30

        22

        4

        0.55

        2900

        CHLF(T)4-40

        30

        4

        0.75

        2900

        CHLF(T)4-50

        38

        4

        1.1

        2900

        CHLF(T)4-60

        45

        4

        1.1

        2900

        CHLF(T)8-10

        8.5

        8

        0.75

        2900

        CHLF(T)8-20

        17

        8

        0.75

        2900

        CHLF(T)8-30

        25.5

        8

        1.1

        2900

        CHLF(T)8-40

        34

        8

        1.5

        2900

        CHLF(T)8-50

        42.5

        8

        2.2

        2900

        CHLF(T)12-10

        9.5

        12

        0.75

        2900

        CHLF(T)12-20

        19.5

        12

        1.2

        2900

        CHLF(T)12-30

        29.5

        12

        1.8

        2900

        CHLF(T)12-40

        39.5

        12

        2.4

        2900

        CHLF(T)12-50

        50

        12

        3

        2900

        CHLF(T)16-10

        10

        16

        1.1

        2900

        CHLF(T)16-20

        21

        16

        2.2

        2900

        CHLF(T)16-30

        32

        16

        3

        2900

        CHLF(T)16-40

        43

        16

        4

        2900

        CHLF(T)20-10

        9.5

        20

        1.1

        2900

        CHLF(T)20-20

        21

        20

        2.2

        2900

        CHLF(T)20-30

        33

        20

        4

        2900

        CHLF(T)20-40

        44.5

        20

        4.4

        2900


        熱點新聞

        江蘇碩創機械設備有限公司

        地址:
        江蘇省江陰市普惠路與芙蓉大道交匯處
        手機:15852626160 聯系人:林經理 電子郵箱:[email protected] 電話:0510-86021669 網址:www.booksontexas.com

        在線留言

        在線咨詢

        版權所有: 江蘇碩創機械設備有限公司       技術支持:新超云網絡

        d8彩票

        Similar interests