<address id="nl7nh"><listing id="nl7nh"></listing></address>

      <address id="nl7nh"></address>
        您好,歡迎光臨江蘇碩創機械設備有限公司!
        當前位置: 首頁 > 產品中心 > 多級泵 > CHLF型不銹鋼輕型分段式多級泵

        CHLF型不銹鋼輕型分段式多級泵

        概述:CHL,CHLK和CHLF(T)不銹鋼輕型分段式多級泵采用了免修機械密封。泵的過流部件均采用不銹鋼資料(304或316)制成,具有低噪音,耐輕腐蝕,外形漂亮、體積小、重量輕、運用壽命長等特色。 。

        全國24小時銷售熱線:15852626160 立即咨詢 聯系我們 在線留言
        詳情

        ■ CHLF型不銹鋼輕型分段式多級泵產品概述: 

        CHL,CHLK和CHLF(T)不銹鋼輕型分段式多級泵采用了免修機械密封。泵的過流部件均采用不銹鋼資料(304或316)制成,具有低噪音,耐輕腐蝕,外形漂亮、體積小、重量輕、運用壽命長等特色。 

        ■ CHLF型不銹鋼輕型分段式多級泵工作條件: 

        淡薄、潔凈、不凝、不爆破、不含固體顆粒或纖維的液體。
        液體溫度: 常溫型-15℃至+70℃
        熱水型+70℃至+110℃
        最大環境溫度:+40℃
        最大運作壓力:10巴
        最大進口壓力受最大運作壓力約束
        介質酸堿性:PH4~9 

        ■ CHLF型不銹鋼輕型分段式多級泵類型意義: 

         

        ■ CHLF型不銹鋼輕型分段式多級泵泵電機: 

         ● 全封閉式風冷電機
         ● 鋁殼
         ● 安全等級:IP55、密封等級:F
         ● 規范電壓:50Hz:1×220-240V    3×220-240V    3×380-415V 

        ■ CHLF型不銹鋼輕型分段式多級泵運送介質: 

         ● 淡薄、清潔、不含固體顆粒或纖維的非易燃易爆液體。
         ● 多級泵能夠運送比如礦泉水、軟化水、純水、清油和其他輕化工介質。
         ● 當運送液體的密度或粘度大于水,如需求,有必要配用大功率電機。
         ● 多級泵是否適用于某一特定液體由多種要素決議,其間最重要的是氯含量、PH值、溫度和溶劑、油的含量等。 

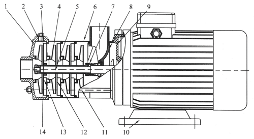
        ■ CHLF型不銹鋼輕型分段式多級泵結構圖: 

         

        序號

        稱號

        資料

        AISI/ASTM

        序號

        稱號

        資料

        AISI/ASTM

        2

        堵頭

        不銹鋼

        AISI304

        3

        軸承

        碳化鎢


        4

        葉輪

        不銹鋼

        AISI304

        5

        不銹鋼

        AISI304

        6

        出水導葉

        不銹鋼

        AISI304

        8

        機械密封



        9

        電機端蓋

        鋁合金


        10

        底座

        鑄鐵

        ASTM25B

        11

        拉桿

        不銹鋼

        AISI304

        12

        導葉

        不銹鋼

        AISI304

        13

        支撐導葉

        不銹鋼

        AISI304

        14

        葉輪隔套

        不銹鋼

        AISI304


        1

        進水體

        不銹鋼

        AISI304

        7

        出水體

        不銹鋼

        AISI304


        1

        進水體

        鑄鐵

        ASTM25B

        7

        出水體

        鑄鐵

        ASTM25B

        ■ CHLF型不銹鋼輕型分段式多級泵產品用途: 

        CHL,CHLK和CHLF(T)型不銹鋼輕型分段式多級泵首要用于家庭型中央空調循環及工業上液體的傳輸。如脫礦物質水、軟水、凈化體系、輕油等的循環和增壓。
          1)小型中央空調循環
          2)冷卻體系
          3)工業清洗
          4)水處理(水的凈化)
          5)水產飼養
          6)上肥/計量體系
          7)環境應用 

        ■ CHLF型不銹鋼輕型分段式多級泵性能參數:

        類型

        揚程(m)

        流量(m3/h)

        電機功率(KW)

        轉速(r/min)

        CHL2-20

        14

        2

        0.37

        2900

        CHL2-30

        21

        2

        0.55

        2900

        CHL2-40

        28

        2

        0.55

        2900

        CHL2-50

        35

        2

        0.55

        2900

        CHL2-60

        42

        2

        0.75

        2900

        CHL4-20

        15

        4

        0.55

        2900

        CHL4-30

        22

        4

        0.75

        2900

        CHL4-40

        30

        4

        0.75

        2900

        CHL8-10

        8.5

        8

        0.75

        2900

        CHL8-20

        17

        8

        0.75

        2900

        CHL8-30

        25.5

        8

        1.1

        2900

        CHL8-40

        34

        8

        1.5

        2900

        CHL8-50

        42.5

        8

        2.2

        2900

        CHL12-10

        9.5

        12

        0.75

        2900

        CHL12-20

        19.5

        12

        1.2

        2900

        CHL12-30

        29.5

        12

        1.8

        2900

        CHL12-40

        39.5

        12

        2.4

        2900

        CHL12-50

        50

        12

        3

        2900

        CHL16-10

        10

        16

        1.1

        2900

        CHL16-20

        21

        16

        2.2

        2900

        CHL16-30

        32

        16

        3

        2900

        CHL20-10

        9.5

        20

        1.1

        2900

        CHL20-20

        21

        20

        2.2

        2900

        CHL20-30

        33

        20

        4

        2900

        CHLF(T)2-20

        14

        2

        0.37

        2900

        CHLF(T)2-30

        21

        2

        0.55

        2900

        CHLF(T)2-40

        28

        2

        0.55

        2900

        CHLF(T)2-50

        35

        2

        0.55

        2900

        CHLF(T)2-60

        42

        2

        0.75

        2900

        CHLF(T)4-20

        15

        4

        0.55

        2900

        CHLF(T)4-30

        22

        4

        0.55

        2900

        CHLF(T)4-40

        30

        4

        0.75

        2900

        CHLF(T)4-50

        38

        4

        1.1

        2900

        CHLF(T)4-60

        45

        4

        1.1

        2900

        CHLF(T)8-10

        8.5

        8

        0.75

        2900

        CHLF(T)8-20

        17

        8

        0.75

        2900

        CHLF(T)8-30

        25.5

        8

        1.1

        2900

        CHLF(T)8-40

        34

        8

        1.5

        2900

        CHLF(T)8-50

        42.5

        8

        2.2

        2900

        CHLF(T)12-10

        9.5

        12

        0.75

        2900

        CHLF(T)12-20

        19.5

        12

        1.2

        2900

        CHLF(T)12-30

        29.5

        12

        1.8

        2900

        CHLF(T)12-40

        39.5

        12

        2.4

        2900

        CHLF(T)12-50

        50

        12

        3

        2900

        CHLF(T)16-10

        10

        16

        1.1

        2900

        CHLF(T)16-20

        21

        16

        2.2

        2900

        CHLF(T)16-30

        32

        16

        3

        2900

        CHLF(T)16-40

        43

        16

        4

        2900

        CHLF(T)20-10

        9.5

        20

        1.1

        2900

        CHLF(T)20-20

        21

        20

        2.2

        2900

        CHLF(T)20-30

        33

        20

        4

        2900

        CHLF(T)20-40

        44.5

        20

        4.4

        2900


        熱點新聞

        江蘇碩創機械設備有限公司

        地址:
        江蘇省江陰市普惠路與芙蓉大道交匯處
        手機:15852626160 聯系人:林經理 電子郵箱:[email protected] 電話:0510-86021669 網址:www.booksontexas.com

        在線留言

        在線咨詢

        版權所有: 江蘇碩創機械設備有限公司       技術支持:新超云網絡

        d8彩票

        Similar interests